SYSCAD 12.09 (Oktober 1994)

Top  Previous  Next

 

 

ZUSCHNITTSLISTE

Erstellung von Profilzuschnitts-, Glas- und Dichtungslisten aus AutoCAD Zeichnungen, deren Positionen mit dem Programm Schnittgenerierung oder mit TRANSCAD erzeugt worden sind.

Es können Aufträge mit bis zu 200 Positionen erstellt werden, wobei sich einzelne Positionen auf verschiedenen Zeichnungen befinden können. Mit dem Programm kann auch eine Staboptimierung für Profile durchgeführt werden. Eine Programmbeschreibung finden Sie im Kapitel 5. Programmaufruf über Pulldown-Menü Schnittgenerierung oder Menüauswahl/Programme.

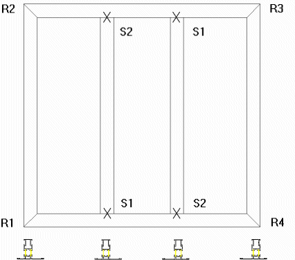
Möglichkeit, asymetrische Profile in der Schnittgenerierung zu verwenden. Die Richtung der eingegebenen Punkte entscheidet über die Lage des Profils. Beispiel: Sie möchten ein Profil mit zwei unterschiedlichen Stegen verwenden. Das Profil ist als Block so abgelegt, daß sich der lange Steg links befindet. Zeichnen Sie einen Rahmen im Uhrzeigersinn, zeigt der lange Steg nach innen. Geben Sie die Punkte der Sprosse von oben nach unten ein, wird das Profil in der Ansicht so dargestellt, wie es als Block abgelegt wurde (langer Steg links). Bei waagerechte Sprossen von links nach rechts ist der lange Steg unten.

Lage des Profils als Block

WHC-EDIT beinhaltet ein Pulldown-Menü "EINSTELLUNGEN", mit der Sie das Programm Ecke-1 und Ecke-2 von AutoCAD aus starten können. Außerdem kann eine Variante für die Verglasung der SYSTHERM® - Serien, E2000 und E5000 gewählt werden.

Aufruf Programm ECKE 1

Aufruf Programm ECKE 2

ALTE GLASLEISTEN Alte Glasleisten und alte Glaskeile

NEUE GLASLEISTEN OFFEN Neue offene Glasleisten und neue Glaskeile

NEUE GLASLEISTEN GESCHL. Neue geschlossene Glasleisten und neue Glaskeile

Bei beiden Befehlen mit den neuen Glasleisten werden für die Serien E2000 und E5000 die alten Glasleisten mit den neuen Glaskeilen verwendet.

Profildaten entsprechen den neuesten Broschüren, Stand 1994